
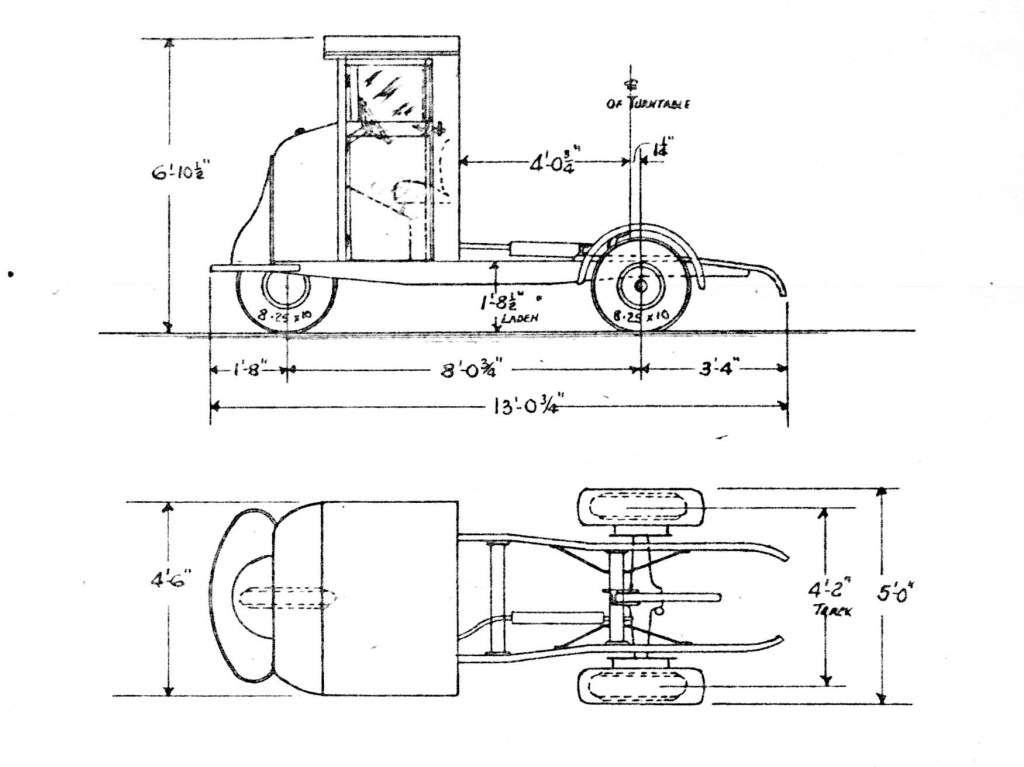
3 Ton Mechanical Horse

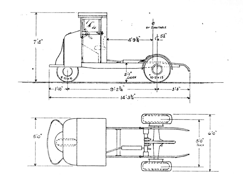
6 Ton Mechanical Horse

ENGINE AND TRANSMISSION GENERAL
Engine mounted within cab, one point front and two points rear, clutch, gearbox, drive shaft and driving axle.
ENGINE
Scammell 4 Cylinder, three bearing fully counter-balanced crankshaft, Lubrication by dry sump principle from submerged gear pump.
3 Ton
1,125 cc
2-1/2″ Bore
3-1/2″ Stroke
Petrol 24 b.h.p. at 3200 r.p.m.
6 Ton
2,043 cc
3-11/200″ Bore
4-1/4″ Stroke
Petrol 38 b.h.p. at 3200 r.p.m.
CLUTCH
Single dry plate
GEAR BOX
Four forward and one reverse speed; all rations except revers and 1st engaged by dogs.
Ratios
1st 6.17:1
2nd 3.02:1
3rd 1.75:1
4th 1:1
Rev 8.19:1
DRIVING AXLE
Double reduction fully floating type. All shafts mounted on anti-friction bearings and hubs on Timken taper roller bearings. 4 pinion differential.
Overall Ratios
3 Ton
9.25:1 MH 6/3
10.28:1 Standard
12.33:1 4T Refuse Collectors or hilly areas
14.51:1 3/6T carrier
6 Ton
13.23:1 Standard
17.11:1 Special loads up to 10T
19.44:1 10T loads in hilly districts
22.51:1 Exceptional Cases
FUEL TANK
Mechanical pump on engine.
3 Ton
8-gallons capacity.
6 Ton
14-gallons capacity.
BRAKES
Foot pedal applied brake on driving axle mechanically. Motive Unit handbrake applied brakes on driving axle. Trailer handbrake applies brakes on trailer by means a slipper and bell crank lever on coupling gear.
3 Ton
Girling 12″x 2 1/2″ single leading shoe brakes.
6 Ton
Girling 14″x 2 1/2″ single leading shoe brakes.
SPRINGS (Driving Axle)
Semi-elliptic leaf springs bearing against slippers carried in brackets attached to the ramp pressing.
RADIATOR
Morris type with detachable pressed top and bottom tanks. Air circulation by means of a fan mounted on the front of the engine.
STARTING
Hand starter provided.
STEERING
Spiral gear, hardened steel worm and bronze worm wheel, ratio 12.5:1.
CAB
Of all wooden construction
FRONT SUSPENSION
By coil spring totally enclosed and immersed in oil. Spring movement damped hydraulicly
FRAME
Pressed steel fabricated side members of channel section. All crossmembers tubular, except front intermediate which is channel and all bolted into position.
COUPLING GEAR
Scammell patent coupling gear incorporating pressed steel ramps and fabricated buffer and spring brackets, Coupling hook and guide bracket carrier on rear tubular crossmember to which is also bolted the rear diagonal stays making a very rigid assembly at the rear end of the frame. Release lever fitted in the cab incorporating safety catch.
ELECTRICAL EQUIPMENT
6-volt constant voltage regulated dynamo.
Electric horn, one headlight, two rubbolite sidelamps and taillamp.
TYRES
3 Ton
8.25″ x 10″ all round
6 Ton
8.25″ x 10″ on front axle
10.50″ x 13″ on driving axle.
DIMENTIONS
3 Ton
Overall Height 82-1/2″
Overall Length 156 3/4″
Overall Width 60″
Wheelbase 96 3/4″
Track – 50″
6 Ton
Overall Height 88″
Overall Length 171 3/4″
Overall Width 72″
Wheelbase 110-3/4″
Track – 60″